
灌装机是用于向容器灌装液体,使其达到由可阶段该液体的 空气排出孔高度所规定的液面。由于包装容器形态、材质、制成方法等的不同,以及产品物理化学性能要求的不同,灌装机构的性能、结构也是千差万别。目前,由于世界啤酒工业的发展给液体灌装机工业,企业带来了一系列的影响。德国、美国、日本、意大利等液体灌装工业企业在加速发展对外贸易,向外转移设备和技术。同时研究和应用新技术刺激液体包装工业设备更新。这样进一步推进了灌装机械的发展,随之而来各种各样新型的液体灌装机相继问世。下面就液体液体灌装机典型结构类型剖析。
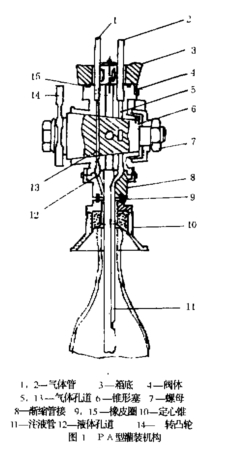
PA型液体灌装机结构
PA型液体灌装机结构见图一,灌装阀是液体灌装机机构中重要的零部件,阀体的一边直接连接在加压箱的底板上,另一边连接在注液管上,定心锥可在注液管上自由移动,在阀体内有三条孔道、其中两条孔道与气室相通,而位于阀体对称轴平面内的第三条孔道用管道与液室相通。在阀的锥形室里按不同角度钻出三个孔与阀塞体内的孔道相对应。将回转的复合断面凸轮转在阀门锥形塞的端部。与加压箱一起旋转时,凸轮与固定的支撑物相遇,使阀门锥形塞连续形成各种工况。在定心锥的顶部压入一只橡皮圈,以保证和瓶颈肩紧紧接触,在工作的位置上,当瓶处于液体灌装机构下方,定心锥便紧贴在注射管的渐缩管接的橡皮圈上,以形成密封、灌装注射管有两条孔道,其中一条孔道用于液体注入瓶内,而另一条孔道用于从瓶中排出空气,PA型液体灌装机在压力作用下向瓶内灌装(啤酒、果汁、矿泉水、药水等)的过程是通过两个连续的工序来完成:首先,使瓶内产生反压力、该压力等于加压箱的液体上方空间的气体压力,然后把液体灌入瓶内,并从瓶内排出空气,这种液体灌装机构突出的优点是:把阀门的锥形塞装在与每道工序相应的规定位置,就可实现相应的工艺循环,但它不易排除液体继续流动的肯能性,所以对液面的高度控制不够准确。

APB型自动液体灌装机结构
APB型液体灌装机结构与PA型液体灌装机的不同之处在从瓶内排气的孔道的扩大部分装置于一个浮子式止回阀,浮子的重量应能在灌装期间,使被排出的气体自由通过该阀,被排出的气体进入泛亚贮槽,达到注液管上气孔的液面灌满瓶子后,液体便经孔道上升流入浮子室内,止回阀就浮起,且针止阀上端将孔道堵住,这就排除了液体继续流动的可能性。
BPN自动液体灌装机结构
在BPN型液体灌装机结构中,计量筒的上部放置在贮液箱内,在计量筒上拧上罩盖,在罩盖上有一个能够移动的与空气管链接的接管,空气管通向加压箱的空气空间、阀门装在管的上下两端,上阀能截断液体通注液管,能使上下阀门欲动,定心锥与瓶子一起往上升时,顶住螺母,并且在继续上升(4~5)毫米时,下注液管与螺母连接起来,同时渐往上升,并离开下阀门、液体就经过注液管与螺母链接、打开上阀门、液体就经过注液管流入瓶内,此种液体灌装机的突出特点是通过上、下阀门的配合使用实现自动灌装,在灌装前后瓶子的空气空间斗鱼大气隔绝,密封性良好。
24小时全国服务热线:400-001-6781、0531-88901661、0531-88902662
查看更多
山东东泰机械制造有限公司是小包装油类包装线、软包装油类灌装机、溶液灌装机、填充机及后段包装设备、工业机器人等产品专业生产加工的公司,拥有完整、科学的质量管理体系。 山东东泰机械制造有限公司的诚信、实力和产品质量获得业界的认可。 欢迎各界朋友莅临参观、指导和业务洽谈。
2010年、2012年、2014年伴随着武汉东泰博锐、沈阳东泰、成都东泰分公司的成立,公司在全国建立了完善的售后服务体系,为您提供便捷的安装调试、操作培训、维修升级及零配件更换服务。“选择山东东泰、选择专业”!